Many
Manuals
search
Kategorie
Marki
Strona główna
Comtech EF Data
Ekwipunek
PCB-4000
Instrukcja Użytkownika
Comtech-ef-data PCB-4000 Instrukcja Użytkownika Strona 71
Pobierz
Podziel się
Dzielenie się
Dodaj do moich podręczników
Drukuj
Strona
/
88
Spis treści
BOOKMARKI
Oceniono
.
/ 5. Na podstawie
oceny klientów
1
2
3
4
5
6
7
8
9
10
11
12
13
14
15
16
17
18
19
20
21
22
23
24
25
26
27
28
29
30
31
32
33
34
35
36
37
38
39
40
41
42
43
44
45
46
47
48
49
50
51
52
53
54
55
56
57
58
59
60
61
62
63
64
65
66
67
68
69
70
71
72
73
74
75
76
77
78
79
80
81
82
83
84
85
86
87
88
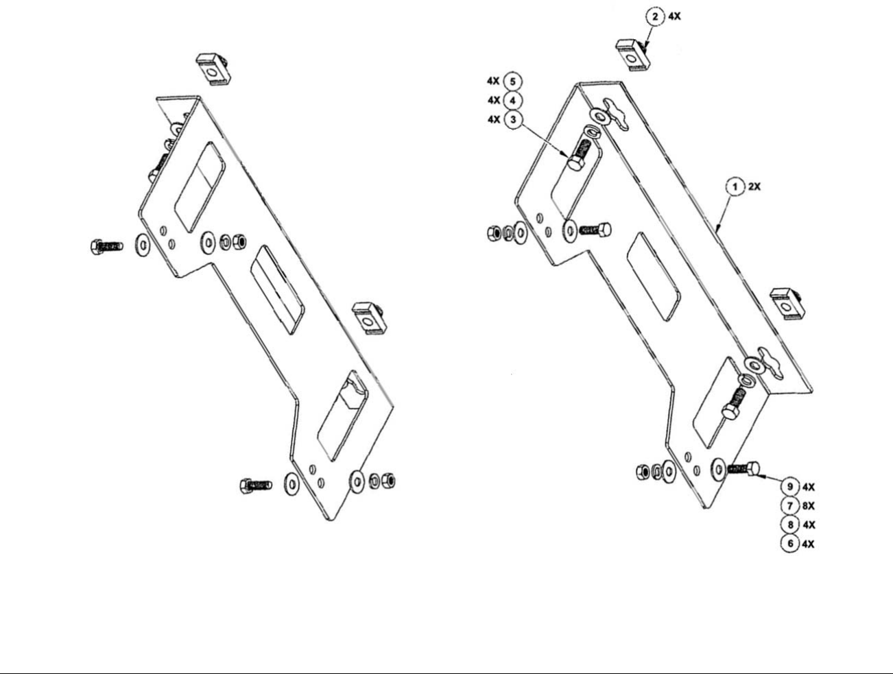
PCB-4000 1+1 Phase Combi
ner
Revision
2
Appendix A
MN/PCB4000.IOM
A–9
Figure A-3. HPOD Mounting Bracket Kit (CEFD P/N KT/12300-1)
1
2
...
66
67
68
69
70
71
72
73
74
75
76
...
87
88
PCB-4000
1
Table of Contents
5
Figures
8
PREFACE
9
Metric Conversion
10
Electrical Safety Notice
10
Warranty Policy
11
Limitations of Warranty
11
Exclusive Remedies
12
Getting Help
13
Contacting Comtech EF Data
13
Preface MN/PCB4000.IOM
14
Chapter 1. INTRODUCTION
15
1.2 Functional Description
16
Introduction MN/PCB4000.IOM
17
1.3 Theory of Operation
18
1.3.2 System Attenuation
19
1.3.3 Soft Fail Protection
19
1.4 Dimensional Envelope
20
Chapter 2. EXTERNAL
21
CONNECTORS
21
2.3 RF Interface Connectors
26
2.4.1 AC Power
27
2.4.2 Ground Connector
27
Chapter 3. INSTALLATION
29
STARTUP
29
TROUBLESHOOTING
29
PROCEDURES
29
3.3.1 LED Status Operation
34
3.6 Phase Alignment
37
Chapter 4. UPDATING FIRMWARE
39
Firmware Update
43
5.1 Overview
49
5.1.1 EIA-485
49
5.1.2 EIA-232
50
5.2.1 Basic Protocol
50
5.2.2 Packet Structure
51
5.2.2.1 Start of Packet
51
5.2.2.3 Virtual Address
52
5.2.2.4 Address Delimiter
52
5.2.2.5 Instruction Code
53
5.2.2.8 End Of Packet
54
Query: AOF?
56
Appendix A. ASSEMBLY KITS
63
Appendix A MN/PCB4000.IOM
64
(P3300)
68
Kit – HPOD (KT/11344-01)
74
Note:A/R=AsRequired
76
-0020621)
82
METRIC CONVERSIONS
87
Units of Length
87
Temperature Conversions
87
Units of Weight
87
480 • 333 • 2200 PHONE
88
• 333 • 2161 FAX
88
Komentarze do niniejszej Instrukcji
Brak uwag
Publish
Powiązane produkty i podręczniki dla Ekwipunek Comtech-ef-data PCB-4000
Ekwipunek Comtech-ef-data PCB-4300 Instrukcja Użytkownika
(92 strony)
Ekwipunek Comtech-ef-data TRP500 Instrukcja Użytkownika
(100 strony)
Ekwipunek Comtech-ef-data CPA Instrukcja Użytkownika
(138 strony)
Ekwipunek Comtech-ef-data CMR-6000 Quick Start Guide Instrukcja Użytkownika
(4 strony)
Ekwipunek Comtech-ef-data CMR-5995 Quick Start Guide Instrukcja Użytkownika
(4 strony)
Ekwipunek Comtech-ef-data CMR-8500 Quick Start Guide Instrukcja Użytkownika
(4 strony)
Ekwipunek Comtech-ef-data CMR-8500 Manual Instrukcja Użytkownika
(98 strony)
Ekwipunek Comtech-ef-data CMR-6000 Manual Instrukcja Użytkownika
(138 strony)
Ekwipunek Comtech-ef-data CMR-5975 Quick Start Guide Instrukcja Użytkownika
(4 strony)
Ekwipunek Comtech-ef-data CMR-5975 Manual Instrukcja Użytkownika
(122 strony)
Ekwipunek Comtech-ef-data MDX420 PLR5779 Demod Card Installation Instrukcja Użytkownika
(5 strony)
Ekwipunek Comtech-ef-data SkyWire Quick Start Procedure Instrukcja Użytkownika
(14 strony)
Ekwipunek Comtech-ef-data CDM-570/L Vipersat Parameter Editor Instrukcja Użytkownika
(96 strony)
Ekwipunek Comtech-ef-data MDX420 SkyWire Manual Instrukcja Użytkownika
(122 strony)
Ekwipunek Comtech-ef-data CDD-56X Series Vipersat Instrukcja Użytkownika
(176 strony)
Ekwipunek Comtech-ef-data CDM-570/570L Vipersat Instrukcja Użytkownika
(192 strony)
Ekwipunek Comtech-ef-data SLM-5650A Vipersat Instrukcja Użytkownika
(154 strony)
Ekwipunek Comtech-ef-data SLM-5650A Vipersat Parameter Editor Instrukcja Użytkownika
(80 strony)
Ekwipunek Comtech-ef-data VIPERSAT File Streamer v1.2.x Instrukcja Użytkownika
(56 strony)
Ekwipunek Comtech-ef-data Vipersat Load Utility v3.5.x Instrukcja Użytkownika
(106 strony)
Drukuj dokument
Drukuj stronę 71
Komentarze do niniejszej Instrukcji