Many
Manuals
search
Kategorie
Marki
Strona główna
Comtech EF Data
Nie
UT-4518E
Dokumentacja
Comtech EF Data UT-4518E Dokumentacja Strona 119
Pobierz
Podziel się
Dzielenie się
Dodaj do moich podręczników
Drukuj
Strona
/
132
Spis treści
ROZWIĄZYWANIE PROBLEMÓW
BOOKMARKI
Oceniono
.
/ 5. Na podstawie
oceny klientów
1
2
3
4
5
6
7
8
9
10
11
12
13
14
15
16
17
18
19
20
21
22
23
24
25
26
27
28
29
30
31
32
33
34
35
36
37
38
39
40
41
42
43
44
45
46
47
48
49
50
51
52
53
54
55
56
57
58
59
60
61
62
63
64
65
66
67
68
69
70
71
72
73
74
75
76
77
78
79
80
81
82
83
84
85
86
87
88
89
90
91
92
93
94
95
96
97
98
99
100
101
102
103
104
105
106
107
108
109
110
111
112
113
114
115
116
117
118
119
120
121
122
123
124
125
126
127
128
129
130
131
132
UT-4500-A Series Upconverte
rs
Revision 0
Appendix B
MN-UT4500A
B–7
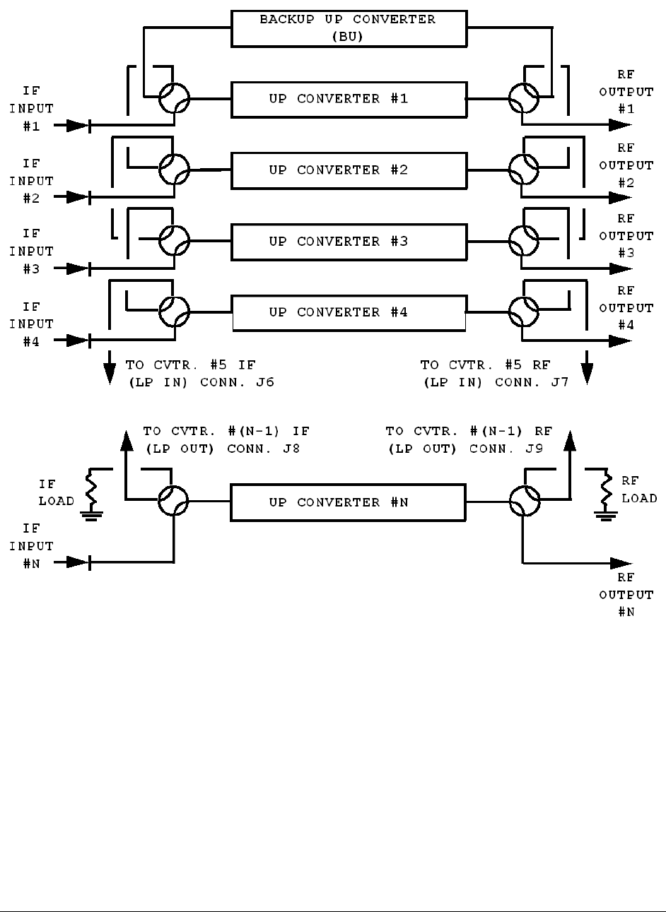
Figure B-8. 1:N Redundant Configuration Diagr
am with IOM-XX and TSM-XX Installed
1
2
...
114
115
116
117
118
119
120
121
122
123
124
...
131
132
UT-4500-A Series
1
Errata A
3
TABLE OF CONTENTS
7
FIGURES
14
PREFACE
15
Preface MN-UT4500A
16
Warranty Policy
18
Limitations of Warranty
18
Exclusive Remedies
19
Customer Support
20
Online Customer Support
20
Chapter 1. INTRODUCTION
21
1.2 Features
22
1.2.2 Dimensional Envelope
23
1.2.3 Front Panel
24
1.2.4 Rear Panel
24
1.3 Theory of Operation
25
1.3.1 Applications
25
1.3.2 RF Signal Conversion
26
1.3.3 Monitor & Control
27
Introduction MN-UT4500A
28
Chapter 2. INSTALLATION
39
2.2 Installation
40
Installation MN-UT4500A
41
2.4 Connect External Cables
43
Chapter 3. REAR PANEL
45
CONNECTORS
45
IMPORTANT
46
IMPORTAN
47
3.3 Cable Connections
53
Module (TSM-XX) Installed
55
Chapter 4. FLASH UPGRADING
57
Flash Upgrading MN-UT4500A
58
Chapter 5. FRONT PANEL
63
OPERATION
63
5.1.2 LED Indicators
64
5.1.3 Keypad
65
5.2 Opening Screen
66
5.3 Main Menu
66
5.3.1.1 CONFIG: OUTPUT
67
5.3.1.3 CONFIG: REDUNDANCY
71
5.3.1.5 CONFIG: COLDSTART
73
5.3.2 MONITOR
74
5.3.3 FAULTS
74
5.3.3.1 FAULTS: CURRENT
74
5.3.4 PRE-SELECTS
75
5.3.4.1 PRE-SELECTS: LOAD
76
5.3.4.3 PRE-SELECTS: CLEAR
76
5.3.5 UTILITY
77
5.3.5.5 UTILITY: SLOPE
78
5.3.5.6 UTILITY: LAMP-TEST
79
5.3.5.7 UTILITY: FIRMWARE
79
MANAGEMENT
81
Chapter 6. ETHERNET
81
6.3.3 SNMP Traps
83
6.4 Telnet Interface
84
Appendix A. REMOTE CONTROL
87
A.2.2 TIA/EIA-232 (RS-232)
88
A.2.3 Ethernet (100BASE-TX)
88
A.3 Access Methods
88
A.3.1 Direct Access
88
A.3.2 Indirect Access
89
A.4 Addresses
89
A.4.1 Physical Address
89
A.4.2 Virtual Address
89
A.6 Message Structure
91
A.6.1 Start Character
91
A.6.2 Device Address
91
A.6.3 Command
91
A.6.4 Confirmation Response
92
A.6.5 Error Response
92
A.6.6 End of Message
92
A.6.6.1 Command Ending
92
A.6.6.2 Response Ending
92
A.7.1 Utility Commands
93
A.7.1.1 Time
93
A.7.1.2 Date
93
A.7.1.5 IP Address
94
A.7.1.6 IP Gateway
94
A.7.1.7 Physical Address
95
A.7.1.8 Baud Rate
95
A.7.1.9 LCD Contrast
95
A.7.1.10 LCD Brightness
95
A.7.1.11 Screen Saver Mode
96
A.7.1.13 VFD Brightness
96
A.7.1.16 Equipment Type
97
A.7.1.17 Part Number
97
A.7.1.20 Firmware Image
98
A.7.1.22 Force Reboot
99
A.7.2.1 Frequency
99
A.7.2.2 Attenuator
99
A.7.2.3 Cold Start
100
A.7.2.4 Mute
100
A.7.2.5 Carrier Mute Mode
100
A.7.2.6 Redundant Mute Mode
100
A.7.2.7 Auto Fault Recovery
101
A.7.2.8 Program Preset
101
A.7.2.9 Display All Presets
101
A.7.3.1 Redundant Mode
102
A.7.3 Modes
102
A.7.3.3 Backup Mode
103
A.7.4 Status Commands
104
A.7.4.2 Maintenance Status
104
A.7.4.3 Utility Status
105
A.7.4.4 Alarm Status
105
Command Details
106
Appendix A MN-UT4500A
107
A.7.5 Stored Alarms
108
A.7.5.1 Total Stored Alarms
108
A.7.5.3 List All Alarms
108
A.7.6 Error Processing
109
A.7.6.1 General Errors
109
A.7.6.3 Mode Errors
109
A.7.6.4 Time-Outs
109
A.7.7 Command Summaries
110
Appendix B. REDUNDANT
113
SYSTEM OPERATION
113
B.2.2 Detachable Modules
114
Installed
115
TSEQM-XX Installed
116
TSM-XX Installed
117
Appendix B MN-UT4500A
118
B.4.1 Initial Configuration
120
adjusted to minimize
125
Appendix C. MAINTENANCE AND
127
TROUBLESHOOTING
127
Appendix C MN-UT4500A
128
C.2.3.3 RF Converter Module
129
C.2.3.7 Temperature Fault
129
C.2.4 Converter I/O Modules
130
C.3 Spares
130
METRIC CONVERSIONS
131
Units of Length
131
Temperature Conversions
131
Units of Weight
131
480 • 333 • 2200 PHONE
132
• 333 • 2161 FAX
132
Komentarze do niniejszej Instrukcji
Brak uwag
Publish
Powiązane produkty i podręczniki dla Nie Comtech EF Data UT-4518E
Nie Comtech EF Data KST-2000B Dokumentacja
(184 strony)
Nie Comtech EF Data MBT-4000 Dokumentacja
(78 strony)
Nie Comtech EF Data KST-2000A Dokumentacja
(182 strony)
Nie Comtech EF Data UT-4514F Dokumentacja
(162 strony)
Nie Comtech EF Data KST-2000A Instrukcja Użytkownika
(14 strony)
Nie Comtech EF Data MBT-4000B Dokumentacja
(88 strony)
Nie Comtech EF Data KST-2000A Instrukcja Użytkownika
(4 strony)
Nie Comtech EF Data CIC-50 Dokumentacja
(38 strony)
Drukuj dokument
Drukuj stronę 119
Komentarze do niniejszej Instrukcji